当前位置:MFC金属板材成形网 > 正文

MFC推荐—奥迪e-tron的模组设计

2019-09-06 17:15:41 来源: BatteryPack
收藏
导读:

接着说e-tron的模组设计,昨天说了,这款模组不是VDA尺寸的模组,目前国内应该已经有很多家在做这款模组了,下面我放几张图,大家对比一下。

e-tron模组的剖解图

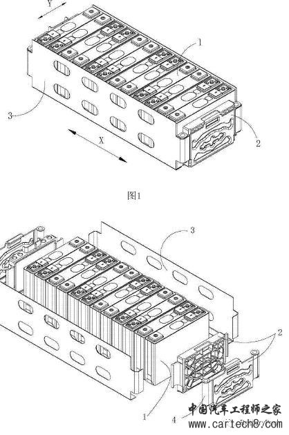
软包VDA模组(LG)

方壳VDA模组(三洋)

方壳VDA模组(三星)

区别已经比较明显了,我就不多说了,大家也可以对比一下国内的VDA模组。有意思的是,我在国家知识产权局上看到一篇很类似这款模组的专利,不过电芯应该是方壳电芯。

某方壳模组和e-tron的模组很相似

接下来说下具体的设计,本来我是想把这个模组的数模大概画一下的,可是时间上太紧张,就先用图片说明一下吧,有疑问的同学可以加我微信共同探讨。

我在网上找到一段展会现场的视频,比较详细,基本上模组的整个结构都可以看个大概。

分解下各零部件和材质:(以下内容为推测,有不同意见的同学勿喷)

端板:铸铝+塑料;

模组外壳: 铝合金(型材或铝板折弯);

采样线: FPC

汇流排:未知(铜的可能性大一点)

内部绝缘板:绝缘塑料

此外还有一些导热胶等其他材料。

说下亮点:

1 端板和模组外壳之间的连接应该是采用激光焊接的形式,铸铝的焊接一直不太容易控制,这一点设计确实很有突破;

2 温度采样点放在了模组顶部,直接贴近电芯,采样的温度更接近模组内电芯的最高温度,这点很有利于热管理策略的精确实施;

3 热设计,直接采用灌封的形式填充电芯与外壳之间的间隙,省略掉导热片和电芯保持架,看来这种设计在LG内部已经验证比较充分了,多款模组均采用此设计;

4 汇流排与电芯的设计: LG终于放弃了其汇流排超声焊接的工艺,采用了栅栏式汇流排的设计,相比超声焊接设计,这种设计可以大大减小汇流排所需的空间,提高模组的体积成组效率,另外在电芯的四个角也分别做了切角处理,这样有利于顶封弯折,也可以给模组留下更多的空间设计结构。

白色的部分是导热胶

向右伸出的部分是温探

这幅图可以看到一些汇流排的设计

相关阅读: 消息类文章

分享到:

声明: 本网站为冲压和钣金业内信息集合和展示平台,欢迎不同的声音和观点,为行业人士提供参考,文章并不代表MFC的观点。书面刊用本站及MFC《金属板材成形》的原创文章,必须获得MFC的书面授权;电子平台转载,则必须注明作者和出处,对于盗版、冒名和不注明出处等行为以及由此产生的负面后果,MFC保留追究的权利。

我来说两句(共0条评论,0人参与)注册 登录 |

  • 最新评论
    暂无评论

品牌展厅365天全天候线上展厅

推荐专题

  • 一周热点
  • 月点击榜
 

微信公众号

冲压钣金门户

扫描或搜索关注